文水县教育科技局权力和责任清单
| 
             权力清单  | 
            
             责任清单  | 
            
             备注  | 
        ||||||
| 
             职权 类别  | 
            
             职权 编码  | 
            
             职权名称  | 
            
             职权依据  | 
            
             责任事项  | 
            
             追责情形  | 
            
             追责依据  | 
            
             追责形式  | 
        |
| 
             行政确认  | 
            
             01265019-0-QR-0003  | 
            
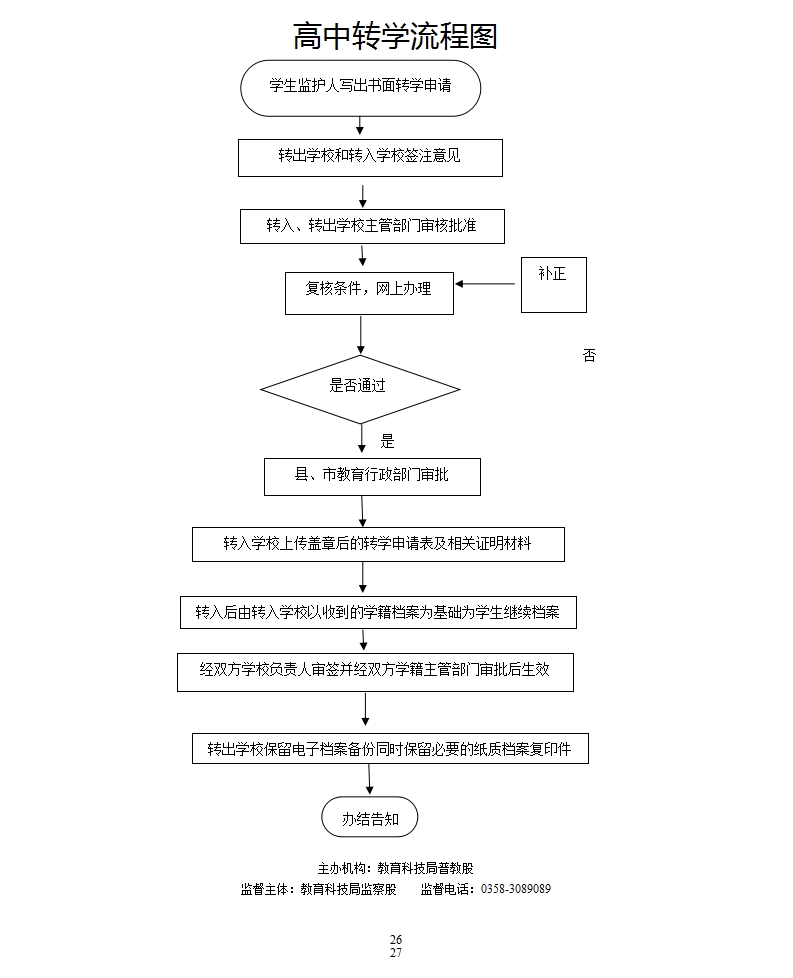
             学生转学的确认  | 
            
             【法规】 《中小学学籍管理办法》第十四条; 《山西省中小学生学籍管理办法实施细则(试行)》第十七条。  | 
            
             1.公示转学条件及应当提交的材料,一次性告知办理转学手续所需材料,依法受理或不予受理(不予受理应当告知理由)。  | 
            
             1.对不符合转学条件的学生予以受理并进行手续办理。  | 
            
             【法律】《中华人民共和国公务员法》第五十三至五十五条; 【行政法规】《行政机关公务员处分条例》(国务院第495号令) 【规章】《事业单位工作人员处分暂行规定》(人社部、监察部18号令) 【地方性法规】《山西省行政执法条例》第十三条、第四十至四十二条; 【党内法规】《中国共产党纪律处分条例》; 【规范性文件】《山西省行政机关及其工作人员行政过错责任追究暂行办法 》、《吕梁市行政执法责任追究暂行办法》第七、二十四条。  | 
            
             (一)行政处理 1.诫勉谈话或者责令书面检讨; 2.通报批评; 3.暂扣行政执法证件; 4.责令离岗培训; 5.调离执法岗位; 6.取消执法资格; 7.依法追偿部分或者全部行政赔偿费用。 (二)行政处分:警告、记过、记大过、降级、撤职、开除 (三)党纪处分:警告、严重警告、撤销党内职务、留党察看、开除党籍。 (四)其他法律责任。  | 
            
             
  | 
        


