文水县公安局权力清单和责任清单
| 
             权力清单  | 
            
             责任清单  | 
            
             备注  | 
        ||||||
| 
             职权类型  | 
            
             职权编码  | 
            
             职权名称  | 
            
             职权依据  | 
            
             责任事项  | 
            
             追责情形  | 
            
             追责依据  | 
            
             追责形式  | 
        |
| 
             
 
 行政处罚  | 
            
             72593976-0-CF-0198  | 
            
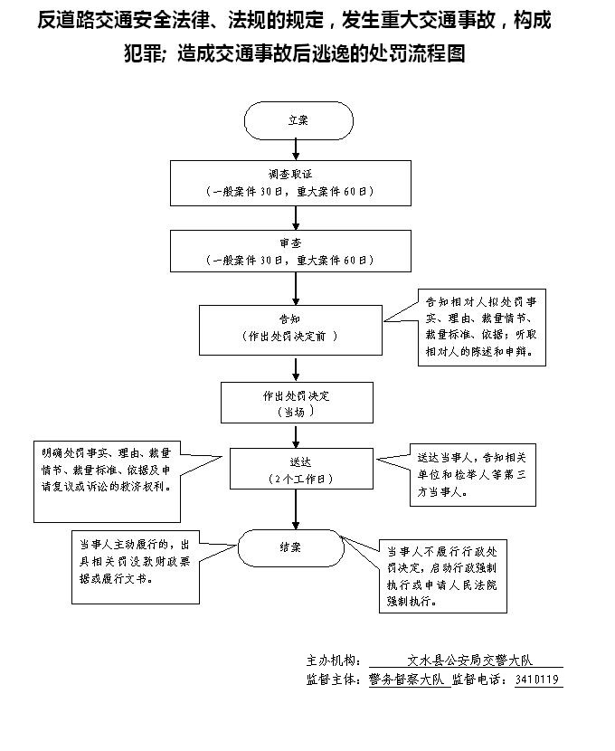
             对违反道路交通安全法律、法规的规定,发生重大交通事故,构成犯罪; 造成交通事故后逃逸的处罚  | 
            
             【法律】《中华人民共和国道路交通安全法》 第一百零一条第一款第二款  | 
            
             1.受理责任:报案、控告、举报、群众扭送、主动投案时,审查决定是否予以受理;2.承办责任:对受理的案件,指定专人负责,及时组织调查取证,与当事人有直接利害关系的应回避。办案人员不得少于两人,办案时应当严格遵守执法办案相关规定,允许当事人辩解陈述。办案人员应保守有关秘密。3.审批责任:对办案民警呈送的案件审批,主要对对案件违法事实、证据、调查取证程序、法律适用、处罚种类和幅度、当事人陈述等方面进行审查,提出处理意见(主要证据不足时,以适当的方式补充调查)。4.告知责任:作出行政处罚决定前,应制作《行政处罚告知书》送达当事人,告知违法事实及其享有的 陈述、申辩等权利。5.决定责任:制作行政处罚决定书,载明行政处罚告知、当事人陈述申辩或者听证情况等内容。6.送达责任:行政处罚决定书按法律规定的方式送达当事人7.执行责任:依照生效的行政处罚决定执行。8.其他法律法规规章文件规定应履行的责任。  | 
            
             因不履行或不正确履行职责,有下列情形的,相关工作人员应当承担相应责任: 1.没有法律和事实依据实施行政处罚的;2.行政处罚显失公正的;3.办案人员玩忽职守,对应当予以制止或处罚的违法行为不予制止、处罚;4.不具备行政执法资格实施行政处罚的;5.在制止以及查处违法案件中有吃拿卡要等行为的;6.应当依法移送追究刑事责任,而未依法移送有权机关的;7.擅自改变行政处罚种类、幅度的;8.违反法定的行政处罚程序的;9.在行政处罚过程中发生腐败行为的;10.其他违反法律法规规章文件规定的行为。  | 
            
             【法律】《中华人民共和国行政处罚法》第五十五、第五十七至第六十二条;《中华人民共和国公务员法》第五十三、五十六、一百零六条。 【行政法规】《行政机关公务员处分条例》(国务院第495号令); 【规章】《事业单位工作人员处分暂行规定》(人社部、监察部18号令);《公安机关人民警察纪律条令》(监察部、人力资源社会保障部、公安部20号令) 【地方性法规】《山西省行政执法条例》第十三条、第四十至四十二条; 【党内法规】《中国共产党纪律处分条例》 【规范性文件】《山西省行政机关及其工作人员行政过错责任追究暂行办法》;《吕梁市行政执法责任追究暂行办法》第八条、第二十四条。  | 
            
             一、行政处理 1、诫勉谈话或者责令书面检讨; 2、通报批评; 3、暂扣行政执法证件; 4、责令离岗培训; 5、调离执法岗位 6、取消执法资格; 7、依法追偿部分或者全部行政赔偿费用。 二、行政处分:警告、记过、记大过、降级、撤职、开除。 三、党纪处分:警告、严重警告、撤销党内职务、留党察看、开除党籍。 四、其他法律责任  | 
            
             
  |