文水县住建局权力和责任清单
|
权力清单 |
责任清单 |
备注 |
||||||
|
职权类别 |
职权编码 |
职权名称 |
职权依据 |
责任事项 |
追责情形 |
追责依据 |
追责形式 |
|
|
行政确认 |
01265027-0- QR-0001 |
建筑节能设计认定 |
【地方性法规】《山西省民用建筑节能条例》第十六条
|
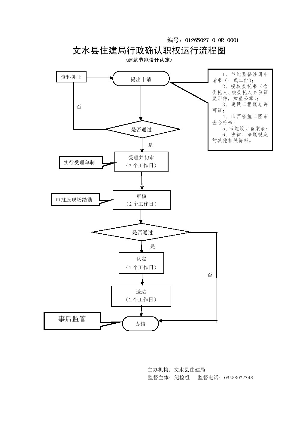
1、受理责任:公示应当提交的材料,一次性告知补正材料,依法受理或不予受理(不予受理应当告知理由)。
|
1、不公示资料的;不履行一次性告知义务的;对符合规定条件的申请不予受理的; 2、对不符合规定条件的申请人准予备案的; 3、对符合规定条件的申请人不予备案或者不在法定期限内作出决定的; 4、办理过程中,索取或者收受他人财物或者谋取其他利益; 5、其他违反法律法规规章文件规定的行为。 |
【法律】《中华人民共和国公务员法》第五十三至五十五条; 【行政法规】《行政机关公务员处分条例》(国务院第495号令) 【规章】《事业单位工作人员处分暂行规定》(人社部、监察部18号令) 【地方性法规】《山西省行政执法条例》第十三条、第四十至四十二条; 【党内法规】《中国共产党纪律处分条例》; 【规范性文件】《山西省行政机关及其工作人员行政过错责任追究暂行办法 》、《吕梁市行政执法责任追究暂行办法》第七、二十四条。 |
(一)行政处理 1、诫勉谈话或者责令书面检讨; 2、通报批评; 3、暂扣行政执法证件; 4、责令离岗培训; 5、调离执法岗位 6、取消执法资格; 7、依法追偿部分或者全部行政赔偿费用。 (二)行政处分:警告、记过、记大过、降级、撤职、开除。 (三)党纪处分:警告、严重警告、撤销党内职务、留党察看、开除党籍。 (四)其他法律责任
|
|

