文水县水利水保局权力和责任清单
| 
             权力清单  | 
            
             责任清单  | 
            
             备注  | 
        ||||||
| 
             职权类别  | 
            
             职权 编码  | 
            
             职权 名称  | 
            
             职权依据  | 
            
             责任事项  | 
            
             追责情形  | 
            
             追责依据  | 
            
             追责形式  | 
            
             
  | 
        
| 
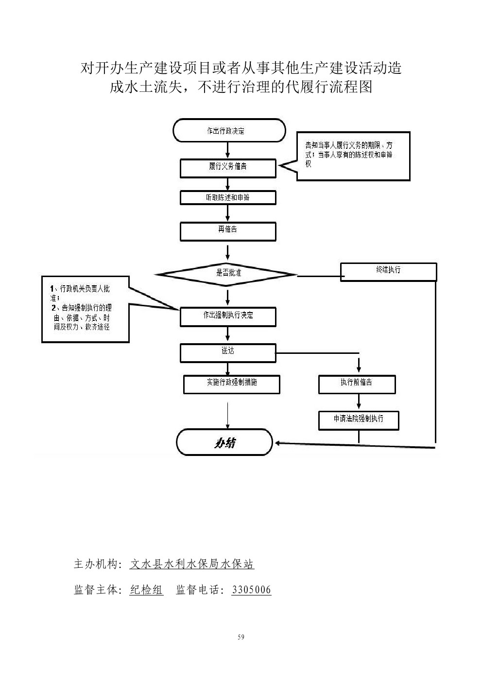
             行政强制  | 
            
             01265058-8-QZ-0005  | 
            
             对开办生产建设项目或者从事其他生产建设活动造成水土流失,不进行治理的代履行  | 
            
             【法律】《中华人民共和国水土保持法》第五十六条  | 
            
             1、受理责任:行政机关依法作出要求当事人履行排除妨碍、恢复原状等义务的行政决定,当事人逾期不履行,向行政机构负责人报批同意,启动代执行程序;  | 
            
             1、代履行不得采用暴力、胁迫以及其他非法方式;  | 
            
             【法律】《中华人民共和国水土保持法》第四十七条;《行政强制法》第六十一条至第六十四条;《中华人民共和国公务员法》第五十三、五十六、一百零六条。 《中华人民共和国水法》第七十五条。 【行政法规】 《行政机关公务员处分条例》(国务院第495号令) 【地方性法规】《山西省行政执法条例》第十三条、第四十至四十二条; 【党内法规】《中国共产党纪律处分条例》。 【规范性文件】《山西省行政机关及其工作人员行政过错责任追究暂行办法 》;《吕梁市行政执法责任追究暂行办法》第九条、第二十四条 
  | 
            
             (一)行政处理 1、诫勉谈话或者责令书面检讨; 2、通报批评; 3、暂扣行政执法证件; 4、责令离岗培训; 5、调离执法岗位 6、取消执法资格; 7、依法追偿部分或者全部行政赔偿费用。 (二)行政处分:警告、记过、记大过、降级、撤职、开除。 (三)党纪处分:警告、严重警告、撤销党内职务、留党察看、开除党籍。 (四)其他法律责任 
  | 
            
             
  | 
        

