文水县水利水保局权力和责任清单
| 
             权力清单  | 
            
             责任清单  | 
            
             备注  | 
        ||||||
| 
             职权类别  | 
            
             职权 编码  | 
            
             职权 名称  | 
            
             职权依据  | 
            
             责任事项  | 
            
             追责情形  | 
            
             追责依据  | 
            
             追责形式  | 
            
             
  | 
        
| 
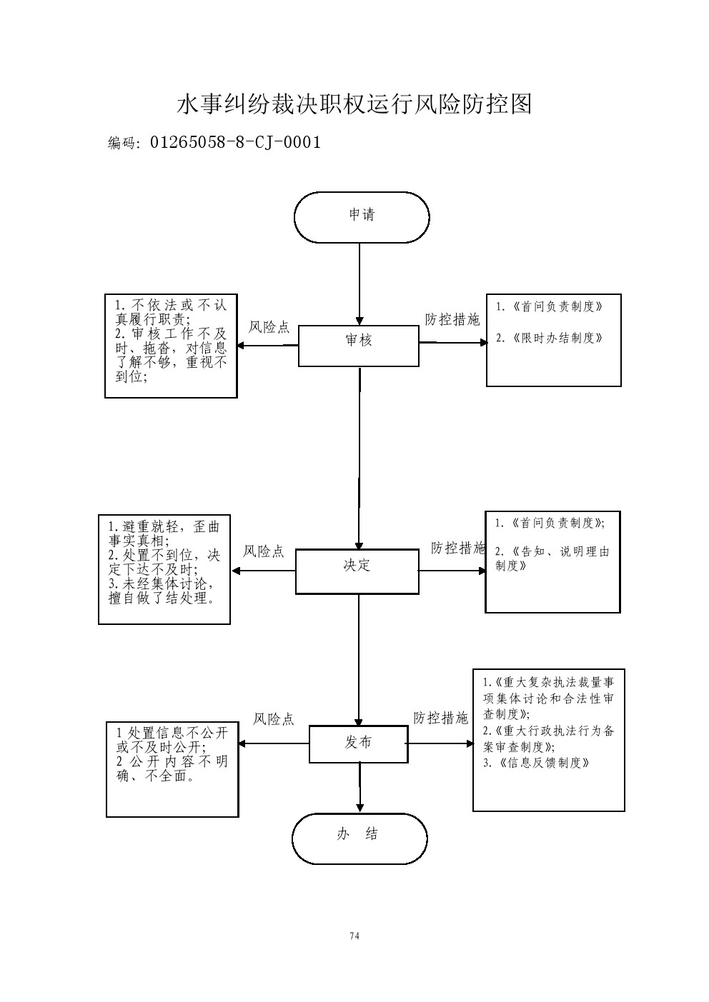
             行政裁决  | 
            
             01265058-8-CJ-0001  | 
            
             水事纠纷裁决  | 
            
             【法律】 《中华人民共和国水法》 
  | 
            
             1、受理责任:公示申请条件、法定期限、需要提供的申请书及其他资料(申请人及被申请人的基本本情况,申请裁决的要求和理由,有关证据材料等),一次性告知补正的材料,对符合条件的应当予以受理,不符合条件的,不予受理并通知申请人;  | 
            
             1、对符合条件的区域水事纠纷裁决申请不予受理、裁决的; 9、应当告知当事人而没有履行告知义务的。  | 
            
             【法律】中华人民共和国水法》第五十六条; 《中华人民共和国公务员法》第五十三条至五十五条。 【行政法规】《行政机关公务员处分条例》(国务院第495号令); 【规章】《水政监察工作章程》水利部13号令 第二十四条 3.《水行政许可听证规定》第四条 【地方性法规】《山西省行政执法条例》第十三条、第四十至四十二条; 【党内法规】《中国共产党纪律处分条例》; 【规范性文件】《山西省行政机关及其工作人员行政过错责任追究暂行办法 》; 《吕梁市行政执法责任追究暂行办法》第十八、第二十三、二十四、二十五条。  | 
            
             (一)行政处理 1、诫勉谈话或者责令书面检讨; 2、通报批评; 3、暂扣行政执法证件; 4、责令离岗培训; 5、调离执法岗位 6、取消执法资格; 7、依法追偿部分或者全部行政赔偿费用。 (二)行政处分:警告、记过、记大过、降级、撤职、开除。 (三)党纪处分:警告、严重警告、撤销党内职务、留党察看、开除党籍。 (四)其他法律责任 
  | 
            
             
  | 
        

