文水县水利水保局权力和责任清单
| 
             权力清单  | 
            
             责任清单  | 
            
             备注  | 
        ||||||
| 
             职权类别  | 
            
             职权 编码  | 
            
             职权 名称  | 
            
             职权依据  | 
            
             责任事项  | 
            
             追责情形  | 
            
             追责依据  | 
            
             追责形式  | 
            
             
  | 
        
| 
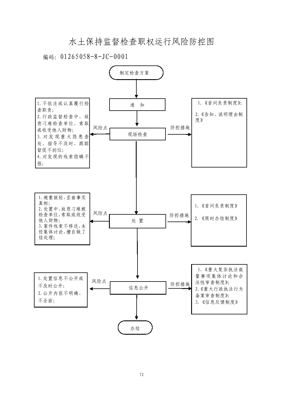
             行政检查  | 
            
             01265058-8-JC-0001  | 
            
             水土保持监督检查  | 
            
             【法律】《中华人民共和国水土保持法》第二十九、第四十三条  | 
            
             1、制定通知责任:出台检查文件或方案;并在规定时间内将文件或方案通知有关单; 2、检查责任:执法人员出示执法证件;对照批复的水土保持方案进行现场检查,并召开座谈会; 6、其他法律法规规章文件规定应履行的责任。  | 
            
             1、无法定依据或者超越法定权限实施行政检查的; 4、非正当目的实施行政检查的;5、放弃、推诿、拖延、拒绝履行检查职责的;  | 
            
             【法律】《中华人民共和国水土保持法》第四十七条;《中华人民共和国公务员法》第五十三至五十五条; 【行政法规】《行政机关公务员处分条例》(国务院第495号令) 【规章】《事业单位工作人员处分暂行规定》(人社部、监察部18号令) 【地方性法规】《山西省行政执法条例》第十三条、第四十至四十二条; 【党内法规】《中国共产党纪律处分条例》; 【规范性文件】《山西省行政机关及其工作人员行政过错责任追究暂行办法 》、《吕梁市行政执法责任追究暂行办法》第十五条二十四条。 
  | 
            
             (一)行政处理 1、诫勉谈话或者责令书面检讨; 2、通报批评; 3、暂扣行政执法证件; 4、责令离岗培训; 5、调离执法岗位 6、取消执法资格; 7、依法追偿部分或者全部行政赔偿费用。 (二)行政处分:警告、记过、记大过、降级、撤职、开除。 (三)党纪处分:警告、严重警告、撤销党内职务、留党察看、开除党籍。 (四)其他法律责任 
  | 
            
             
  | 
        

