文水县国土资源局权力和责任清单
|
权力清单 |
责任清单 |
备注 |
|||||||
|
职权类别 |
职权编码 |
职权名称 |
职权依据 |
责任事项 |
追责情形 |
追责依据 |
追责形式 |
||
|
项目 |
子项 |
||||||||
|
行政许可 |
01265026-2-XK-0001-02 |
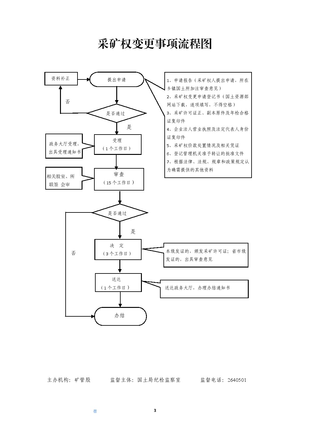
采矿权审批 |
采矿权变更 |
【法律】《中华人民共和国矿产资源法》第十八条第二款;
|
1、受理责任:公示应当提交的材料,一次告知补正材料、依法受理或者不予受理(不予受理应告知理由) 2、审查责任:对申请人提交的申请材料进行审查核实。 3、决定责任:作出行政许可或者不予行政许可决定,法定告知(不予决定应当告知理由。 4、送达责任:准予许可的向申请人颁发采矿许可证或者向吕梁市国土资源局上报。 5、事后监管责任:建立实施监督检查的运行机制和管理制度,开展基层国土中心所日常监管,依法采取相关处置措施。 6、其他法律法规规章规定应履行的责任。 |
1.对符合法定条件的申请不予受理的; 2.不公示依法应当公示的材料的; 3.在受理、审查、决定行政许可过程中,未向申请人、利害关系人履行法定告知义务的; 4.申请人提交的申请材料不齐全、不符合法定形式,不一次告知申请人必须补正的全部内容的; 5.未依法说明不受理行政许可申请或者不予行政许可的理由的; 6.对不符合法定条件的申请人准予行政许可或者超越法定职权作出行政许可决定的; 7.对符合法定条件的申请人不予行政许可或者不在法定期限内作出准予行政许可决定的; 8.其他违反法律法规规章文件规定的行为。 |
【法律】《中华人民共和国矿产资源法》第四十七条;《行政许可法》第七十二至七十七条;《公务员法》第五十三至五十五条; 【行政法规】《探矿权采矿权转让管理办法》(国务院令第242号)第十六条;《行政机关公务员处分条例》(国务院第495号令); 【部门规章】《事业单位工作人员处分暂行规定》(人社部、监察部18号令); 【地方性法规】《山西省行政执法条例》第十三条、第四十至四十二条; 【党内法规】《中国共产党纪律处分条例》; 【规范性文件】《山西省行政机关及其工作人员行政过错责任追究暂行办法 》;《吕梁市行政执法责任追究暂行办法》第七、二十四条。 |
(一)行政处理 1、诫勉谈话或者责令书面检讨; 2、通报批评; 3、暂扣行政执法证件; 4、责令离岗培训; 5、调离执法岗位 6、取消执法资格; 7、依法追偿部分或者全部行政赔偿费用。 (二)行政处分:警告、记过、记大过、降级、撤职、开除。 (三)党纪处分:警告、严重警告、撤销党内职务、留党察看、开除党籍。 (四)其他法律责任。
|
|
