文水县国土资源局权力和责任清单
|
权力清单 |
责任清单 |
备注 |
||||||
|
职权类别 |
职权编码 |
职权名称 |
职权依据 |
责任事项 |
追责情形 |
追责依据 |
追责形式 |
|
|
行政处罚 |
01265026-2-CF-0023 |
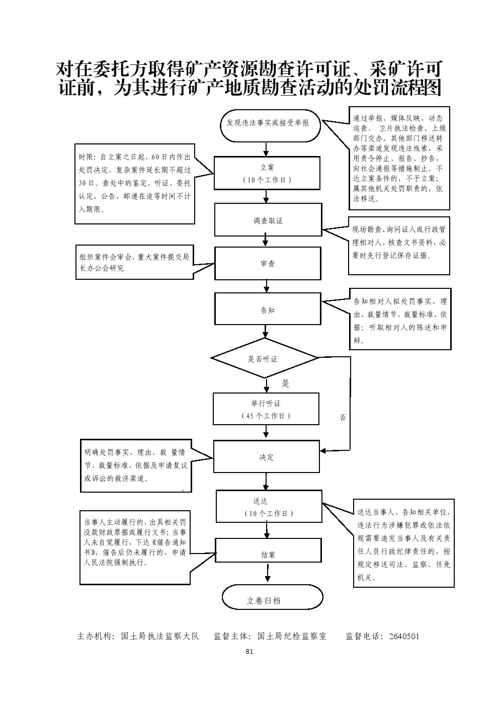
对在委托方取得矿产资源勘查许可证,采矿许可证前,为其进行矿产地质勘查活动的处罚 |
【行政 法规】 《地质 勘查资 质管理 条例》 (国务 院令第 520号) 第二十九条 |
1.立案责任:发现和受理移交的违法行为,予以审查,决定是否立案。
|
1.超越或者滥用职权的;应予立案受理而不受理的; 2.对群众举报或发现违法线索置之不理的; 3.违反规定程序实施行政处罚的; 4.指派不具备法定行政执法资格的人员实施行政处罚的; 5.擅自设立处罚种类或者改变处罚幅度、范围的;不规定时限告知和作出决定; 6.不按时执行的;违反“罚缴分离”规定,擅自收取罚款的; 7.对当事人进行罚款、没收财物等行政处罚不使用法定单据的; 8.依法应当移送司法机关处理而不移送的; 9.行政机关将罚款、没收的违法所得或者财物截留、私分或者变相私分的; 10.执法人员利用职务上的便利,索取或者收受他人财物、收缴罚款据为己有的; 11.行政机关使用或者损毁扣押的财物,对当事人造成损失的; 12.行政机关违法实行检查措施或者执行措施,给公民人身或者财产造成损害、给法人或者其他组织造成损失的; 13.在行政处罚过程中滥用职权、玩忽职守、徇私舞弊的; 14.其他违反法律法规规章文件规定的行为。 |
【法律】《中华人民共和国行政处罚法》第五十五、第五十七至第六十二条;《公务员法》第五十三、五十六、一百零六条; 【行政法规】《行政机关公务员处分条例》(国务院第495号令); 【部门规章】《事业单位工作人员处分暂行规定》(人社部、监察部18号令); 【地方性法规】《山西省行政执法条例》第十三条、第四十至四十二条; 【党内法规】《中国共产党纪律处分条例》; 【规范性文件】《山西省行政机关及其工作人员行政过错责任追究暂行办法 》;《吕梁市行政执法责任追究暂行办法》第八条、二十四条。 |
(一)行政处理 1、诫勉谈话或者责令书面检讨; 2、通报批评; 3、暂扣行政执法证件; 4、责令离岗培训; 5、调离执法岗位 6、取消执法资格; 7、依法追偿部分或者全部行政赔偿费用。 (二)行政处分:警告、记过、记大过、降级、撤职、开除。 (三)党纪处分:警告、严重警告、撤销党内职务、留党察看、开除党籍。 (四)其他法律责任。 |
|

