文水县国土资源局权力和责任清单
| 
             权力清单  | 
            
             责任清单  | 
            
             备注  | 
        ||||||
| 
             职权类别  | 
            
             职权编码  | 
            
             职权名称  | 
            
             职权依据  | 
            
             责任事项  | 
            
             追责情形  | 
            
             追责依据  | 
            
             追责形式  | 
        |
| 
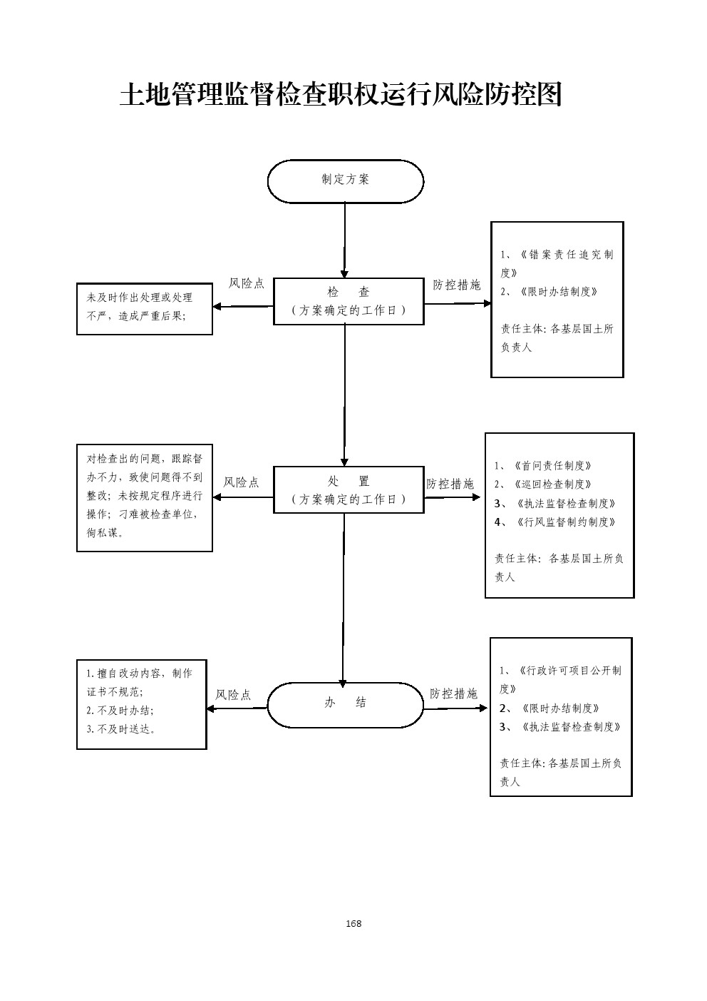
             行政 检查  | 
            
             01265026-2-JC-0004  | 
            
             土地管理监督检 查  | 
            
             【法律】《中华人民共和国土地管理法》第六十六条、第六十七条; 【行政法规】《中华人民共和国土地管理法实施条例》(国务院令第256号)第三十二条。  | 
            
             1.检查责任:土地行政主管部门组织开展检查工作,制定检查方案,采取民查暗访、听取汇报、查阅资料、现场检查调查取证等方式. 2.处置责任:处置分整改复查、行政强制、行政处罚或移交其他部门进行处理等。 3.信息公开责任:检查结束后,向被检查对象书面反馈意见,并依规对检查情况进行公开。  | 
            
             1.未按规定进行监督检查; 2.对符合条件的投诉举报人作出不予受理或不在法定期限内作出受理的决定; 3.不依法履行检查职责或检查不力导致国家或个人利益受到损害的; 4.检查中索取或收受他人财物或者谋取其他利益的; 5.其他违反法律法规规章文件的行为。  | 
            
             【法律】《中华人民共和国土地管理法》第八十四条;《公务员法》第五十三、五十四、五十五条; 【行政法规】《行政机关公务员处分条例》(国务院第495号令); 【部门规章】《事业单位工作人员处分暂行规定》(人社部、监察部18号令); 【地方性法规】《山西省行政执法条例》第十三条、第四十至四十二条; 【党内法规】《中国共产党纪律处分条例》; 【规范性文件】《山西省行政机关及其工作人员行政过错责任追究暂行办法 》;《吕梁市行政执法责任追究暂行办法》第十五条、二十四条。  | 
            
             (一)行政处理 1、诫勉谈话或者责令书面检讨; 2、通报批评; 3、暂扣行政执法证件; 4、责令离岗培训; 5、调离执法岗位 6、取消执法资格; 7、依法追偿部分或者全部行政赔偿费用。 (二)行政处分:警告、记过、记大过、降级、撤职、开除。 (三)党纪处分:警告、严重警告、撤销党内职务、留党察看、开除党籍。 (四)其他法律责任。  | 
            
             
  | 
        

