文水县国土资源局权力和责任清单
| 
             权力清单  | 
            
             责任清单  | 
            
             备注  | 
        ||||||
| 
             职权类别  | 
            
             职权编码  | 
            
             职权名称  | 
            
             职权依据  | 
            
             责任事项  | 
            
             追责情形  | 
            
             追责依据  | 
            
             追责形式  | 
        |
| 
             其他权力  | 
            
             01265026-2-QT-0004  | 
            
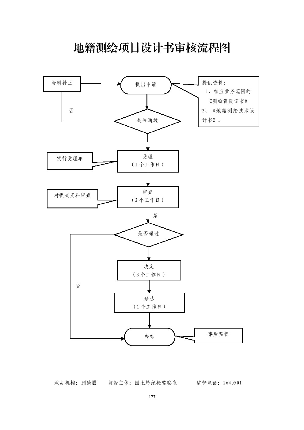
             地籍测绘项目 设计书审核  | 
            
             【法律】《中华人民共和国测绘法》第三十条 
 【地方性法规】《山西省测绘管理条例》第三条第二款、第十四条第一款 
 
  | 
            
             1.受理责任:公示应当提交的材料,一次性告知补正材料,依法受理或不予受理,不予受理告知理由。                    | 
            
             1.对符合法定条件的申请不予受理的;  | 
            
             【法律】《中华人民共和国测绘法》第五十三条;《公务员法》第五十三、五十四、五十五条;  | 
            
             (一)行政处理 1、诫勉谈话或者责令书面检讨; 2、通报批评; 3、暂扣行政执法证件; 4、责令离岗培训; 5、调离执法岗位 6、取消执法资格; 7、依法追偿部分或者全部行政赔偿费用。 (二)行政处分:警告、记过、记大过、降级、撤职、开除。 (三)党纪处分:警告、严重警告、撤销党内职务、留党察看、开除党籍。 (四)其他法律责任。  | 
            
             
  | 
        

