文水县国土资源局权力和责任清单
| 
             权力清单  | 
            
             责任清单  | 
            
             备注  | 
        ||||||
| 
             职权类别  | 
            
             职权编码  | 
            
             职权 名称  | 
            
             职权依据  | 
            
             责任事项  | 
            
             追责情形  | 
            
             追责依据  | 
            
             追责形式  | 
        |
| 
             其他权力  | 
            
             01265026-2-QT-0007  | 
            
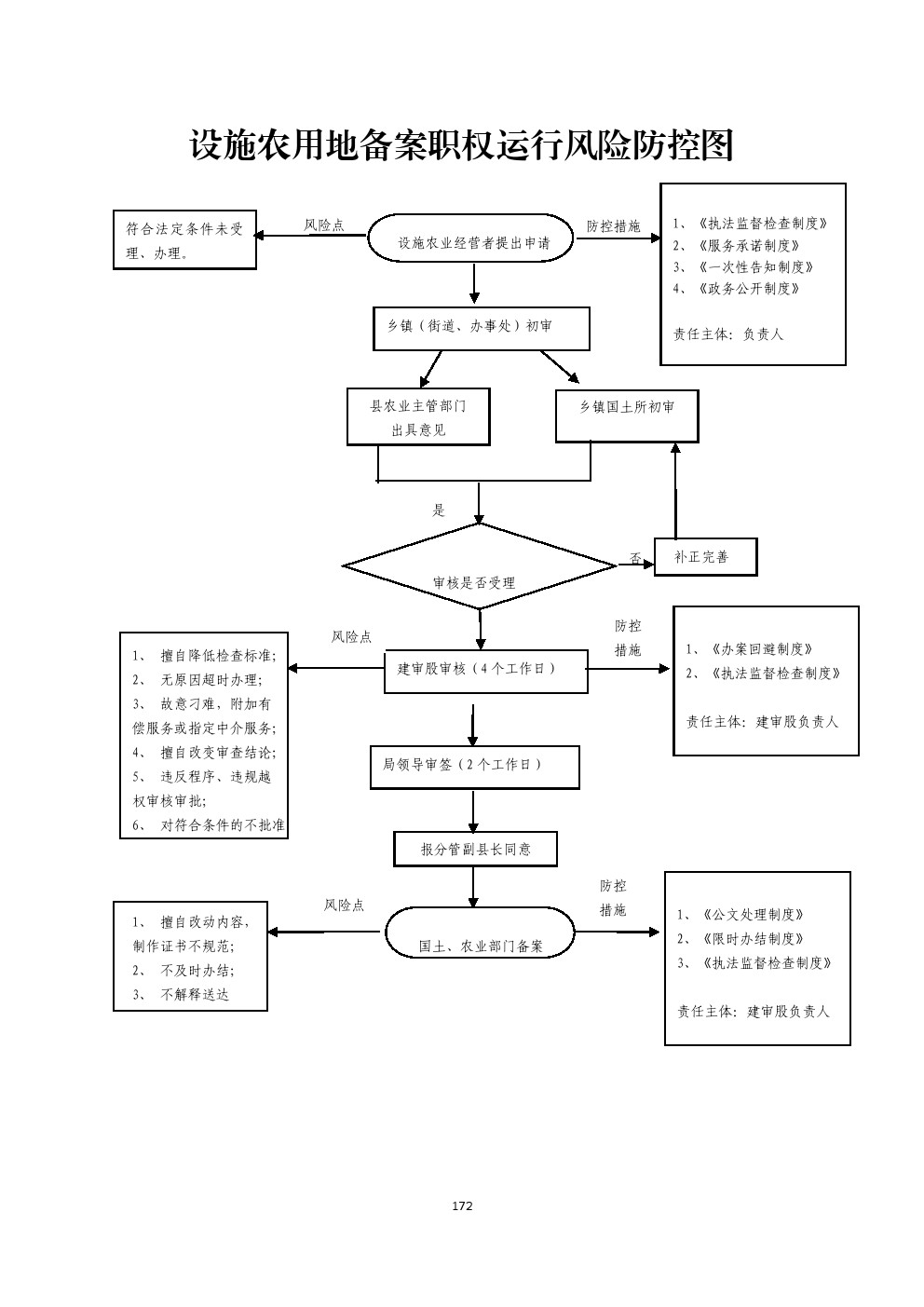
             设施农用地备案  | 
            
             【规范性文件】 《关于进一步支持设施农业健康发展的通知》(2014年国土资源部、农业部国土资发〔2014〕127号)  | 
            
             1、受理责任:公示应当提交的材料,一次告知补正材料,依法受理或者不予受理(不予受理应当告知理由)。 2、审查责任:对申请人提交的申请材料进行审查核实。 3、决定责任:作出行政许可或者不予行政许可决定,法定告知(不予决定应当告知理由)。 4、送达责任:准予许可的向申请人发放批复文件。 5、监管责任:建立实施监管检查的运行机制和管理制度,开展定期和不定期检查,依法采取相关处置措施。 
  | 
            
             
 1.对符合法定条件的行政许可申请不予受理的; 2.不在办公场所公示依法应当公示的材料的; 3.在受理、审查、决定行政许可过程中,未向申请人、利害关系人履行法定告知义务的; 4.申请人提交的申请材料不齐全,不符合法定形式,不一次告知申请人必须补正的全部内容的; 5.未依法说明不受理行政许可申请或不予行政许可的理由的; 6.对不符合法定条件的申请人准予行政许可或者超越法定职权作出准予行政许可决定的; 7.对符合法定条件的申请人不予行政许可或者不在法定期限内作出准予行政许可决定的; 8.擅自增减核准审查条件的; 9.不在法定期限内作出核准决定的; 10.擅自收费或者不按照法定项目和标准收费的; 11.给当事人的合法权益造成损害的; 12.索取或者收受他人财物或者谋取其他利益; 13.不依法履行监管职责或者监督不力,造成严重后果的; 14.其他违反法律法规规章规定的行为。  | 
            
             【法律】《中华人民共和国土地管理法》第八十四条;《中华人民共和国行政许可法》(中华人民共和国主席令第七号)第七十二条至七十七条;《公务员法》第五十三、五十四、五十五条; 
  | 
            
             (一)行政处理 1、诫勉谈话或者责令书面检讨; 2、通报批评; 3、暂扣行政执法证件; 4、责令离岗培训; 5、调离执法岗位 6、取消执法资格; 7、依法追偿部分或者全部行政赔偿费用。 (二)行政处分:警告、记过、记大过、降级、撤职、开除。 (三)党纪处分:警告、严重警告、撤销党内职务、留党察看、开除党籍。 (四)其他法律责任。  | 
            
             
  | 
        

