文水县文物旅游局权力和责任清单
|
权力清单 |
责任清单 |
备注 |
||||||
|
职权 类别 |
职权 编码 |
职权 名称
|
职权 依据 |
责任事项 |
追责情形 |
追责依据 |
追责形式 |
|
|
其他 权利 |
77518932-0-QT-0002 |
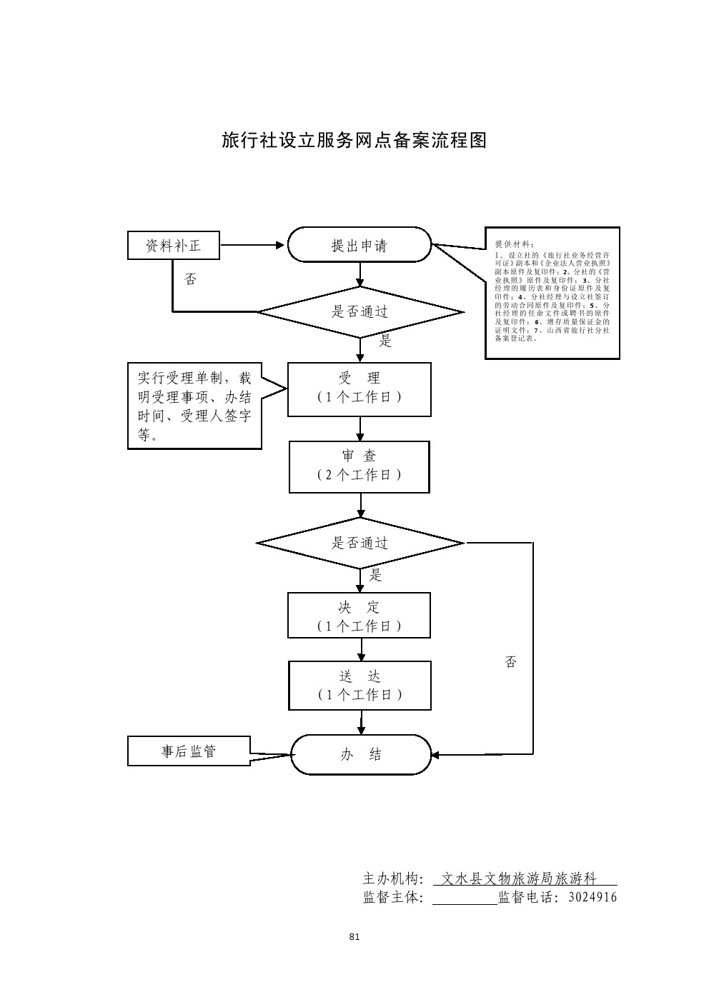
旅行社设立专门招徕旅游者、提供旅游咨询的服务网点的备案 |
【行政法规】《旅行社条例》(国务院第550号令)第十条、第十一条 |
1.受理责任:公示应当提交的材料,一次性告知补正材料,依法受理或不予受理(不予受理应当告知理由) 2、审查责任:按照《文物法》第25条第二款规定,对书面申请材料进行审核,组织现场勘察。 3、决定责任:作出行政许可或者不予行政许可决定,法定告知(不予许可的应当书面告知理由) 。 4、送达责任:准予许可的,核发许可证书,送达并信息公开。 5、事后监管责任:建立实施监督检查的运行机制和管理制度,开展定期和不定期检查,依法采取相关处置措施。 6、其他责任:法律法规规章规定应履行的责任。
|
1、不公示应当提交的材料的;不履行一次性告知义务的;对符合法定条件的申请不予受理的; 2、对不符合法定条件的申请人准予行政审批或者超越法定职权作出行政审批决定的; 3、对符合法定条件的申请人不予行政审批或者不在法定期限内作出行政审批决定的; 4、不依法履行许可职责或者违法违纪,致使行政审批结论错误的; 5、违反法定程序实施行政许可的; 6、行政审批过程中,索取或者收受他人财物或者谋取其他利益的; 7、其他违反法律法规规章文件规定的行为。
|
【法律】《旅游法》第一百零九条;《行政处罚法》第五十五、第五十七至六十二条;《公务员法》第五十三至五十六条; 【行政法规】《旅行社条例》(国务院第550号令)第六十六条;《行政机关公务员处分条例》(国务院第495号令); 【规章】《事业单位工作人员处分暂行规定》(人社部、监察部18号令); 【地方性法规】《山西省行政执法条例》第十三条、第四十至四十二条; 【党内法规】《中国共产党纪律处分条例》;【规范性文件】《山西省行政机关及其工作人员行政过错责任追究暂行办法 》;《吕梁市行政执法责任追究暂行办法》第八条、第二十四条。
|
一、行政处理 1、诫勉谈话或者责令书面检讨; 2、通报批评; 3、暂扣行政执法证件; 4、责令离岗培训; 5、调离执法岗位; 7、依法追偿部分或者全部行政赔偿费用。 二、行政处分:警告、记过、记大过、降级、撤职、开除。 三、党纪处分:警告、严重警告、撤销党内职务、留党察看、开除党籍。 四、其他法律责任。 。 |
|

