文水县安全生产监督管理局权力清单和责任清单
| 
             权 力 清 单  | 
            
             责 任 清 单  | 
            
             备 注  | 
        ||||||||
| 
             序号  | 
            
             职权类别  | 
            
             职权编码  | 
            
             职权名称  | 
            
             职权依据  | 
            
             责任事项  | 
            
             追责情形  | 
            
             追责依据  | 
            
             追责形式  | 
            
             
  | 
        |
| 
             项目  | 
            
             子项  | 
        |||||||||
| 
             152  | 
            
             行政处罚  | 
            
             79021253-3-CF-0152  | 
            
             对生产经营单位的主要负责人未依法履行安全生产管理职责,导致发生生产安全事故的处罚。  | 
            
             【地方性法规】 《山西省安全生产条例》第六十九条(2007年12月20日山西省第十届人民代表大会常务委员会第34次会议通过)  | 
            
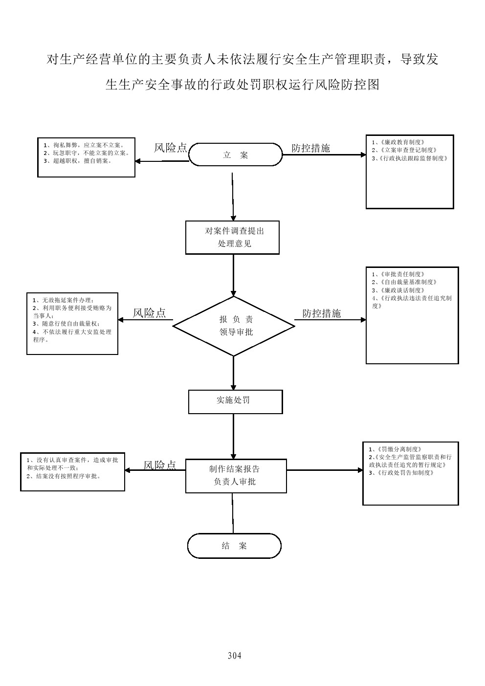
             1、立案责任:在检查中或者事故调查过程中发现、或者接到举报、或部门移交的违法案件,予以审查,决定是否立案。 2、调查责任:对已经立案的案件,进行调查时,执法人员不得少于两人,与当事人有直接利害关系的应当回避。调查时应出示执法证件,收集相关证据,允许当事人辩解陈述,执法人员应保守有关秘密。 3、审查责任:对案件违法事实、证据、调查取证程序、法律适用、处罚种类和幅度、当事人陈述和申辩理由等方面进行审查,提出处理意见。 4、告知责任:在做出行政处罚决定前,制作《行政处罚告知书》,符合听证条件的制作《听证告知书》,通知当事人,当事人享有的陈述、申辩、要求听证的权利。 5、决定责任:根据审理情况决定是否予以行政处罚。依法需要给予行政处罚的,制作《行政处罚决定书》,载明违法事实和证据、处罚依据和内容、缴纳罚款的银行、申请行政复议或提起行政诉讼的途径和期限等内容。 6、送达责任:《行政处罚决定书》按照法定的方式和期限送达当事人。 7、执行责任:监督当事人在决定的期限内,履行生效的处罚决定。当事人在法定期限内不申请行政复议或者提起行政诉讼,又不履行的,发出催缴通知,加收罚款滞纳金,再不履行的向人民法院申请强制执行。  | 
            
             因不履行或不正确履行行政职责,有下列情形的,行政机关及相关工作人员应承担相应责任: 1、未履行执法计划,致使公民、法人或者其他组织的合法权益、公共利益和社会秩序遭受损害的;2、超越、滥用法定职权的;3、主要事实不清、证据不足的;4、适用法律依据错误的;5、行政裁量明显不当的;6、违反法定程序的; 7、违法实行检查措施或者执行措施,给公民人身或者财产造成损害、给法人或者其他组织造成损失;8、不执行对事故责任人员的处理决定,或者擅自改变上级机关批复的对事故责任人员的处理意见的;9、徇私舞弊、包庇纵容违法行为的;10、在行政处罚过程中发生腐败行为的;11、将罚款、没收的违法所得或者财物截留、私分或者变相私分的;  | 
            
             【法律】《中华人民共和国行政处罚法》第五十五、第五十七至六十二条。《中华人民共和国公务员法》第五十三、五十六、一百零六条。 【行政法规】 《行政机关公务员处分条例》(国务院第495号令) 【规章】《事业单位工作人员处分暂行规定》(人社部、监察部18号令) 【地方性法规】《山西省行政执法条例》第十三条、第四十至四十二条;【党内法规】《中国共产党纪律处分条例》。 【规范性文件】《山西省行政机关及其工作人员行政过错责任追究暂行办法 》;《吕梁市行政执法责任追究暂行办法》第八条、第二十四条。 《安全生产监管监察职责和行政执法责任追究的规定》(2009年国家安监总局令第24号)第十九条, 《安全生产领域违法违纪行为政纪处分暂行规定》(2006年国家安监总局令第11号)第九条  | 
            
             (一)行政处理 1、诫勉谈话或者责令书面检讨; 2、通报批评; 3、暂扣行政执法证件; 4、责令离岗培训; 5、调离执法岗位 6、取消执法资格; 7、依法追偿部分或者全部行政赔偿费用。 (二)行政处分:警告、记过、记大过、降级、撤职、开除。 (三)党纪处分:警告、严重警告、撤销党内职务、留党察看、开除党籍。 (四)其他法律责任  | 
            
             
  | 
        |

